INFORMACJA HANDLOWA
ATLO KĄTOWNIK ATLO-BML-271 ATLO-BML-271
50,07 zł
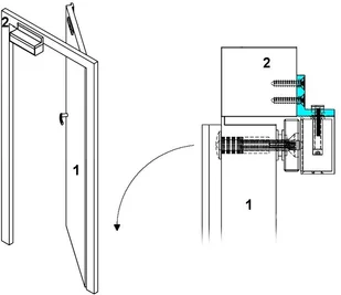
Kątownik montażowy do zwory elektromagnetycznej
Materiał wykonania:
Aluminium
Zastosowanie:
ATLO-ML-271
Waga:
0.190 kg
Wymiary:
249 x 47 x 30 mm
Producent / Marka:
ATLO
Gwarancja:
3 lata






